Call for price
    warranty 1 year
    Product Description
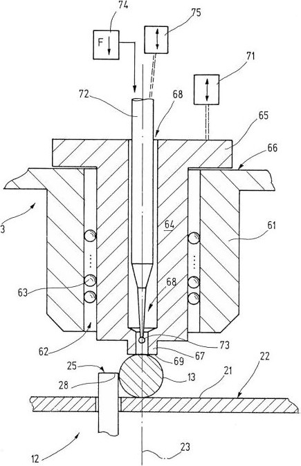
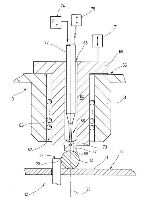
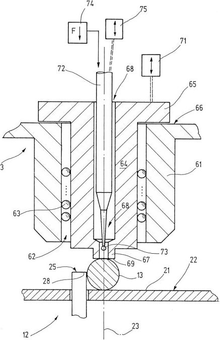
    Hildebrand IRHD-ORCD O-Ring Centering Device for IRHD-MICRO

    The patented O-Ring centering device is compatible with the Hildebrand IRHD-ORCD O-Ring Centering Device for IRHD-MICRO. O-Rings with a cord dia. of 0.6 mm to 8 mm are placed on the measuring table and pushed to the positioning pin. The cord dia. is entered into the MICRO IRHD software. Integrated electric motors precisely move the measuring table to the measuring axis. This results in measuring the highest position of the O-ring.

    Features


    • Allows exact measurement at the highest point of the O-Ring
    • O-Ring cord dia. 0.6 mm to 8 mm, adjustable steps of 0.01 mm
    • Does not apply pressure to o-ring avoiding measurement errors

    Specifications


    Table Dimensions Ø160 mm x 208 mm
    Overall Dimensions 130 mm x 140 mm x 86 mm
    Net Weight 1.7kg

    Related Products


    Hildebrand IRHD-MACRO
    Macro IRHD Hardness Tester

    • For testing according to ASTM D1415, DIN ISO 48, ISO 48 and DIN 53505
    related
    Click image for more info

    Hildebrand IRHD-MICRO
    IRHD Micro Hardness Tester

    • Measures according to DIN ISO 48, ISO 48, ASTM D 1415, BS 903: Part A26
    related
    Click image for more info
    related
    Click image for more info

    ADD TO CART THE ITEMS YOU WOULD LIKE TO PURCHASE
    MODELS
    Copyright © 2026 Abq Industrial